logo
download
časovač osc
odpájení SMD
stavíme Biprog
úprava magnetofonu
různé měřící doplňky
plošné spoje
fetdioda
zdroj z počítače
oprava TV ovladače
grafy a vzorce
různé

fotky

zpět na bastl. koutek
zpět na hlavní menu
mail:
info@vaelektronik.cz

pozadí

Úprava zdroje Fortron 180W na regulovaný zdroj

Tyto malé zdroje Fortron byly začátkem roku 2006 velmi levně sehnatelné u firmy www.elektronika.cz. Rozhodl jsem se zdroj předělat na regulovatelný 0-15V/10A a 0-7V 16A. Popis zde ponechávám třeba jako inspiraci pro úpravy jiných, podobných zdrojů.

Do popisované úpravy se může pustit pouze ten, kdo zná a dodržuje bezpečnostní předpisy. Do úpravy by se rozhodně neměli pouštět začátečníci.

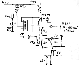
Při rozebírání zdroje jsem si obkreslil alespoň tu část zapojení, která mě zajímala. Zdroje bývají často konstruovány jako univerzální pro napájení 110-240V a proto při napájení ze sítě 230V může být při maximální střídě výstupní napětí až 2,5 násobek jmenovitého. To je také důvod, proč při "ulítnutí" regulace nepřežije v počítači někdy vůbec nic a proč jsou lepší zdroje vybaveny přepěťovým vypínáním.

Zapojení většiny ATX zdrojů je velmi podobné a jedno kompletní schema s popisem je u Pavouka. Popisovaný zdroj Fortron má navíc pasivní PFC dělané tlumivkou v sérii s přívodem a pomocný zdroj je zde integrovaný. Jeho zapojení jsem též obkreslil, přesto že do něj při úpravě zasahovat nebudeme.

pomocný zdroj Pomocný zdroj má dva výstupy, 5V/2A vyvedený ven a cca 12-20V pro napájení řídící části hlavního zdroje. V pohotovostním stavu a při ztažení výstupního napětí na nulu je zde 12V a při provozu se napětí zvýší až na 20V. Regulace zdroje je odvozena z 5V výstupu, proto druhý výstup tak lítá. Ale možná jsem přehlédl nějakou diodu z výstupu hlavního zdroje :-)

Vstupní napětí pro napájení zdroje je usměrněno a filtrováno dvěma kondenzátory v sérii. Pomocný zdroj je napájen plným napětím 300V, symetrický spínací stupeň hlavního zdroje pracuje proti umělému středu a tím udržuje na obou kondenzátorech stejné napětí. Bipolární tranzistory jsou buzeny přes transformátor a mají poměrně komplikovaný (ve všech zdrojích prakticky stejný) obvod pro natvarování budících impulzů a potlačení vlivu zákmitů. Výkonový stupeň se těmito zákmity nesmí otevřít, protože by došlo k jeho neřízenému rozkmitání a zdroj by na výstupu dával maximální napětí.

výstup Za transformátorem je oddělená sekundární část s usměrňovači a výstupními filtry. Všechna napětí mimo 3,3V mají společnou tlumivku, která pomáhá zmenšit rozdíly napětí vzniklé nerovnoměrným zatížením jednotlivých hladin. V popisovaném zdroji je napětí 12V získáno sériovým spojením s výstupem 5V. Při zatížení výstupu 12V a současném odlehčení výstupu 5V zůstávají obě napětí ve správném poměru. Nevýhodou jsou dvojnásobné úbytky na diodách na výstupu 12V.

Napětí 3,3V je obdobně jako v jiných zdrojích odvozeno z vinutí 5V tak, že jedna polarita je diodou usměrněna bez omezení a šířka impulzu v druhé polaritě je omezena přesytkou. Proto má výstup 3,3V vlastní tlumivku a regulaci.

řízení Řídící obvod je zde napájen z pohotovostního zdroje. Proto není činnost zdroje závislá na výstupním napětí a zdroj lze regulovat od nuly. Řízení s obvodem KA3511BS je na samostatné destičce a je téměř v katalogovém zapojení. Význam pinů modulu, jak mi je poslal pan Luboš Rückl, je na obrázku.

Úprava zdroje

Na první pohled stačí pouze odporový dělič na výstupu zdroje nahradit potenciometrem. Problém je v tom, že napětí potom nejde snížit pod hodnotu porovnávacího napětí - v tomto případě 1,25V a problémy může dělat i změna zesílení regulační smyčky při změně napětí. Lepší je vyvést z řídícího obvodu referenční napětí a přes potenciometr ho zavádět do děliče. dělič

Při původním nastavení děliče lze 12V výstup nastavit od 0 do 16V. Při regulaci se však zdroj bude vypínat podpěťová a přepěťová ochrana, která je integrována přímo v KA3511. Podpěťovou ochranu je nutné zablokovat zkratováním časovacího kondenzátoru (blokuje podpěťovou ochranu při náběhu zdroje). Přepěťovou ochranu odpojíme od výstupů 3,3 a 5V, vstup 12V připojíme přes odpor 22K a tím se vypínací napětí zvedne na cca 18V. Poslední úpravou je přepojení větráku na výstup pomocného zdroje. Problém je velké kolísání napětí, od 12 do 20V. Do napájení větráku zapojíme stabilizátor 7812.

řízení

Pro úpravu zdroje nejprve vyletujeme řídící modul. Základní deska je jednostranná, takže to s odsávačkou jde dobře.

Na obrázku jsou úpravy zakroužkovány - přerušení vstupů 3,3 a 5V, odpor 22K 0805 na vstupu 12V, zkratování podpěťové ochrany kapkou cínu a vyvedení výstupu referenčního napětí (červený vodič) a napájení pro větrák (zelený vodič). Řídící destičku naletujeme zpět a nezapomeneme vrátit zpět izolační fólii.

připojení

Na základní desce vyvedeme vstup do děliče regulátoru dle obrázku. Modrý drát je zem, žlutý vstup. Vodiče vedeme okolo desky nahoru po té straně, kde je okolo desky izolační fólie. Modrý, žlutý a červený drát připojíme na potenciometr. Jeho hodnota není kritická, vyhoví 1-10K. Důležité je dodržet hodnotu odporu 3K3 v sérii se středem potenciometru (na obrázku v bužírce), protože tím je daný rozsah regulace.

připojení1

Dále musíme přepojit napájení větráku. Zelený vodič na 7812. Z něj na červený, který původně vedl ze základní desky do regulátoru větráku. větrák

Stabilizátor je nutné přizemnit, k tomu je na regulátoru větráku volná díra (černý vodič). Modul řízení větráku přišroubujeme zpět na chladič a pod šroub přichytíme i stabilizátor. vnitřek zdroje

Sestavený zdroj už s namontovaným potenciometrem a svorkami vyzkoušíme. Pro zapnutí zdroje je nutné spojit na výstupním konektoru zelený (PS-ON, pin 14) s některým černým (zem). Při spuštění zdroje rozloženého na stole dbáme maximální opatrnosti a protože větrák není umístěn nad chladičem, zdroj zatěžujeme jen proudem do 2A. konektor zdroje

Potenciometr reguluje tak, že maximálnímu napětí na jeho výstupu odpovídá minimální napětí zdroje. Zdroj může pracovat i naprázdno, můžeme jej však zatížit třeba žárovkou. Při potenciometru nastaveném na střed nastavíme trimr pro regulaci napětí na minimum. Potenciometr nastavíme na maximum a trimrem nastavíme výstupní napětí na 15-16V. Zdroj umí i vyšší napětí, ale na 16V jsou dimenzovány filtrační kondenzátory na 12V výstupu. Při napětí cca 18 až 20V by měl zdroj vypnout.

Na svorky na panýlku moc místa nezůstalo. Je nutné je umístit co nejvýš. Tři svorky (zem, 5V a 12V) se do jedné řady nevejdou a spodní svorka musí být alespoň o 5 mm výš, než jsem ji umístil já (musel jsem na výstupu jeden kondenzátor vyměnit za menší). Při vrtání je nutné elektroniku zdroje proti pilinám chránit hadrem, nebo ji odpojit. Pro připojení výstupu ke svorkám ponecháme jen asi tři černé vodiče (zem), tři červené (5V) dva žluté (+12V) a zelený (PS-ON), který spojíme s černými. Ostatní vodiče u desky uštípeme. panel zdroje